Index of /pub/misc/opencores/cores/vga_lcd/


../
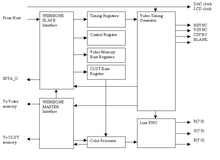
block_diagram.gif                                  18-Feb-2002 15:16               17511
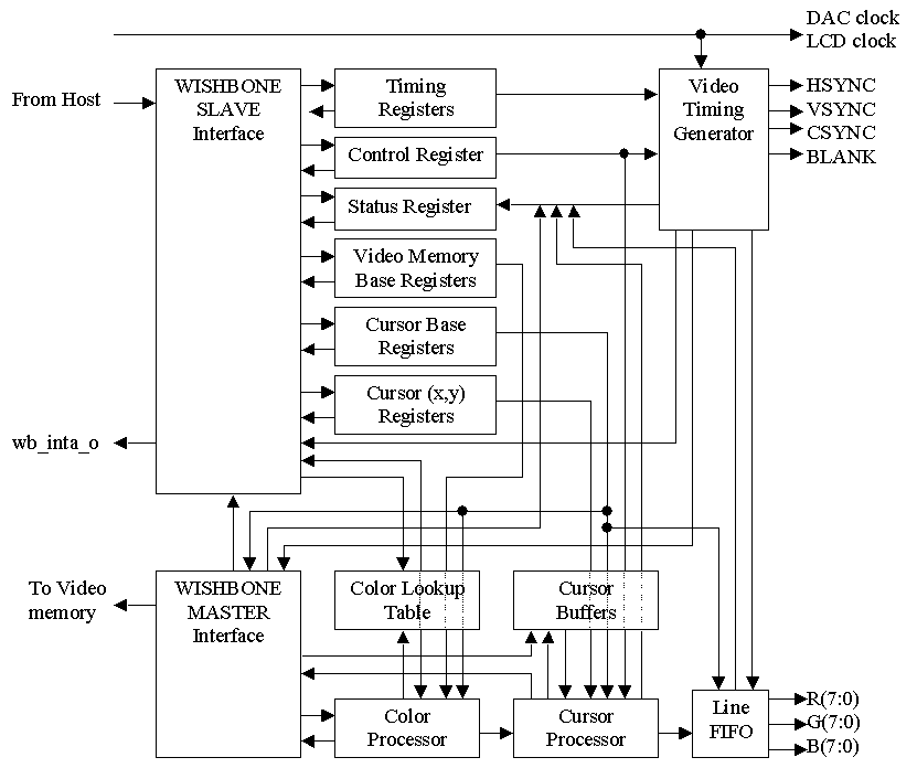
block_diagram.jpg                                  22-May-2001 08:05               38973
index.shtml                                        16-Jul-2001 15:04                3241
vga_core.pdf                                       16-Jul-2001 14:59              113868